電動閥門結構圖及原理(圖)
電動閥門系列產品還是很多,比較常見的有電動蝶閥、電動閘閥、電動球閥等,其中電動球閥又有電動旋球閥、電動半球閥等。下面主要為大家介紹電動半球閥的結構特點及原理。
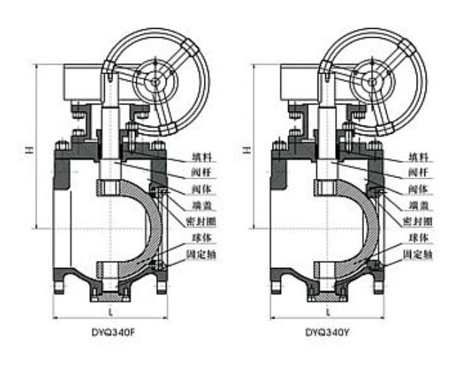
電動閥門系列產品中,電動半球閥并不是常見的閥門,其結構圖如下:

電動半球閥的球芯呈半球狀,不會和密封面產生摩擦,是一種實用操作型的產品,操作更加人性化,方便遠程自動化,電動半球閥的應用廣泛,尤其是在惡劣的環境和人工操作不便或需常開動作時。電動半球閥開啟力小,關閉后,不會結垢,密封性能好,耐磨性好。電動半球閥使用了耐腐蝕材料,因此它被廣泛地應用在水,蒸汽,石油,天然氣等介質中,是理想的氣體傳輸設備。
電動半球閥的特點:偏心式結構,單向密封,密封面和球面不產生摩擦,使用壽命更長,扭矩小,轉動靈活,流體阻力小,密封安全可靠。
以上就是電動閥門系列——電動半球閥的結構及原理介紹。
上一篇新聞:電動閥門限位機構怎么調整?
下一篇新聞:防爆電動閥門使用壽命的延長




浙公網安備 33032402001116號
